[hidrogeológia]
[hydrogeology]
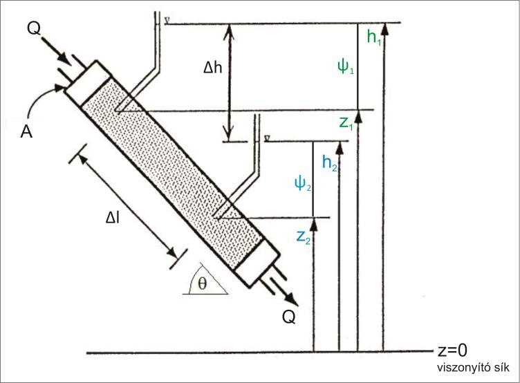
Henry Darcy (1856) által tapasztalati úton leírt törvény. A folyadékok térfogati áramlásának leírását szolgálja. A Darcy-törvényben az áramlási intenzitást (a fajlagos hozamot) és a folyadékpotenciál gradienst egy arányossági tényező kapcsolja össze, a hidraulikus vezetőképesség vagy szivárgási tényező. E konstans részben az áramlási közeg, részben az áramló folyadék tulajdonságainak függvénye. A Darcy-törvény egy dimenzióban: q=-K*(Δh/Δl), ahol q az áramlási intenzitás, K a hidraulikus vezetőképesség vagy szivárgási tényező, Δh/Δl a hidraulikus gradiens. A negatív előjel a Darcy-törvényben arra utal, hogy a vízáramlás mindig a nagyobb hidraulikus emelkedési magasságú hely felől az alacsonyabb felé irányul, azaz az áramlás iránya és a hidraulikus gradiens ellentétesek. A Darcy-törvény a tér minden irányában érvényes, de csak ha a fluxus és a hidraulikus gradiens között lineáris kapcsolat áll fenn.
- Darcy 1856
- Freeze & Cherry 1979



